Otis T. Carr - The Utron Electrical Accumulator - Model Construction Plans, US Patent # 2,912,244
* Introduction
* Interview: "Long John" Nebel & Otis Carr, et al. (WOR Radio, NY, 1959)
* Information Bulletin #3 (December 23, 1957)
* US Patent # 2,912,244: Amusement Device
* OTC-X1 Model Construction Plans
* Fate Magazine (May 1958): "Gravity Machine?"
* Fate Magazine (August 1959): "The Saucer That Didn't Fly"
In the late 1950s, Otis Carr claimed to have discovered what he called the "Utron", a "molecular shell" that houses the atoms. The cohesion of molecular shells is brought about by inertial systems in the gravity field, manifesting in the two poles of natural magnetism and electromagnetism. He claimed that by "hatching" the atomic egg, particularly of paramagnetic and diamagnetic elements (especially bismuth), atomic energy could be released gently. The Carr affair is generally considered to be a fraud. This file is a collection of excerpts of technical factoids from articles, interviews, etc., on the subject, without consideration of Carr's botched attempts to make a business of it. The technology actually makes some sense (to me, anyhow, with qualifications and reservations). I was told by Ralph Ring (one of Carr's engineers) that he himself had flown in a short test flight of a small model of the craft. Carr's business methods (fraudulent stock offerings and amateurish publicity tainted with hubris and non-performance) doomed his efforts. His engineer Norman Colton was an alcoholic who stupidly threatened a local newspaper publisher, thus generating more negative feedback. It was a sad pass from Carr's earlier statement that "We shall not stop until we have penetrated our great discoveries into all the ends of the earth, or even as far into outer space as man desires to go!"
The historic details as published in various newspaper articles and particularly in True, The Man's Magazine ("King of the Non-Flying Saucers", January 1961), are too long to be transcribed here for any useful purpose. This file is composed only of technical factoids gleaned from the collection of papers offered by Rex Research (albeit as poor-quality photocopies, caveat emptor), plus a couple of short articles cribbed from Keelynet/Fate magazine.
According to Carr, "Any vehicle accelerated to an axis rotation relative to its attractive inertial mass, immediately becomes activated by free-space-energy and acts as an independent force... We have shown that a charged body, accelerated to an axis rotation relative to this attractive inertial mass, indicates polarity in a given direction. The dip-needle points, say, up toward the top of the body. But mount this while rotating body, with its spindle, on another platform and rotate this platform on a spindle, then if the counter-rotation is greater than the inertial forward rotation of the body, a dip-needle on the second platform will point down while the first dip-needle points up, indicating complete relativity of polarity. When the exact counter-rotation matches the forward rotation the body loses its polarity entirely and immediately becomes activated by free-energy (tensor stresses in space) and acts as an independent force... The above-described assembly of counter-rotating charged masses becomes weightless and will escape the immediate attraction of gravitational forces..."
The Utron
![]() |
![]() |
![]() |
![]() |
Interview: "Long John" Nebel (WOR Radio, NY) with Otis Carr, et al. (1959)
OTC (Otis T. Carr): "Our system utilizes gravity, electromagnetism, and electromotive force and a relative field to get its functional operation. We use an electrified sender. It's a sensor power core. Now this is what we call an accumulator... It is a storage cell, an accumulation of storage cells which provide an electromotive force in the same manner that any known battery produces and electromotive force...
This [the Utron] is a dimensional product. It was designed with the dimensions of space itself. We say it is truly the geometric form of space, because it is completely round and completely square. It has been proven in scientific laboratories that the very smallest unit of mass matter ever photographed in the electron microscope are square in shape... We have applied this principle into an electrified system, which is the power core of our space vehicle. Now what makes this unique and novel from a battery is the fact that this is a piece of moving machinery that rotates. Our average storage battery is an inanimate object set in an inertial spot and then the electromotive force is conducted by wires from this battery to animate some object.
LJ ["Long John" Nebel]: Let me interrupt for a moment; I'll try to describe it further. Well, it looks like two ice cream cones put together at the wide ends, but he angle is a lot wider [90 degrees] than that of the ice cream cones. There are a series of ridges; they look like gears would fit in. Is that correct?
OTC: No, those are in a sense turbine; they are reactive channels and where there is atmosphere a flow of air there aids in rotation.
LJ: Well, then, this is one of the components of the drive; this is the battery.
OTC: This is the center power core.
LJ: This generates electricity?
OTC: This is right. This is a storage cell for electrical energy. In operation it generates electricity at the same time it puts out electromotive force. This is the central power system for our spacecraft.
LJ: I can tell this: that it opened up and it appears to be hollowed out on the inside... it's circular, the inside; when the two parts are put one on top of the other and they fit into place, the cavity inside is circular...
OTC: It is a sphere, yes. And each unit is a hemisphere. We call the center of this large dimension the equator and of course it contracts and expands to a point on each side It's the union of two presto-conical sections; that is what it is Two right angle sections, and we say it is the dimensions of space and we have shown how this comes about...
LJ: In the literature you've provided us with, there's a mathematical formula that crops up here that intrigues me: minus zero divided by plus zero equals zero. Can you tell me more about it and how you stumbled on this idea?
OTC: The equation is brought about by the shape of our Utron electrical accumulator; this is the name given to our central power system. In our operation of working models and in checking out experiments, we had to find the formula that fir the reason for the action and reaction we were getting. So in exploring nature and studying the great inspirational work of the Dr. Einstein on relativity, we came upon this formula of linear correlation. And when we study linear correlation in geometric form we have to have a starting point and this is the point. And from there it explains through the cross and through the circle. And the only mathematical way we can express it is in the symbolism of zero X or 0X, and this formula brings us to that. We claim that this is the true unified field theory in physical practice.
In a further study of Dr Einstein's great inspirational work --- and we corresponded with him and we had the great good fortune of being advised by him at one time --- we learned that all measurements of time and space had to be considered in relationship to the observer and therefore there never was a fixed quantity of any number. Now in physical form, this is something else again...
On this craft, insofar as the individuals are concerned, we can travel in the same manner as a pressurized airliner. We don't have the problem of a heat shield... because the electromagnetic system sets up a protective shield in our craft which enables us to overcome this [thermal] barrier without any discomfort to the occupants of the craft. And we can very slowly rise, and once we are outside the atmosphere we can accelerate to tremendous velocities up to the speed of light itself.
LJ: How would it land, sir?
OTC: Very simply, we can fall at a very slow velocity of 100 feet/minute or less and we can set it down as gently as a feather because we have joined part of the operation of our craft to universal systems. This is a relative velocity craft and the minute it reaches the relative velocity of the attractive inertial mass, it becomes weightless as regards this inertial attraction. Individually, it is not weightless; t has the same weight as before, but when it reaches the relative location it becomes an independent system just as a planet is an independent system.
LJ: Is there any gravitational pull at this point, sir?
OTC: None whatsoever. They will have the same feeling of pressure or weight that they have right now because we will maintain as far as possible the atmospheric pressure of the earth at sea level inside the craft.
LJ: I am under the impression that the only reason I'm able to sit in this chair is because of gravitational pull.
OTC: We have around 14 lb/square inch pressure within our atmosphere. We have been able to be sealed off away from such a condition and then artificially with atmospheric pressure the pressure in the cabin is maintained. We have it very well in submarines. The same may be used in our craft.
LJ: In other words, under sea where a submarine may be there is no gravitational pull; is that what you're saying?
OTC: There is gravitational pull at all times, but we are speaking about the atmosphere of the occupants inside a sealed unit.
LJ: Is that necessary to keep the occupants in the position they desire?
OTC: Absolutely, because in a vacuum they are at the mercy of any velocity.
LJ: What would happen, sir, if there were some kind of instrument that you could turn on and eliminate the gravitational pull that was in this room?
OTC: You would in a sense become very buoyant and this is not in itself a novelty but it certainly does not have any disastrous effect on humanity.
LJ: Would I remain in this position?
OTC: You could, but any movement would move you out of it.
LJ: Would objects remain in position?
OTC: Until they were brought into any movement. Any movement would make them buoyant themselves.
LJ: I have a lead pencil; if I hold it in the air and release my fingers it would fall because of gravitational pull. If we had this other condition which you so aptly described a moment ago, if I released my fingers would the pencil remain in midair?
OTC: This is true; it would stay there.
LJ: I believe what you're saying is that you'd be creating an artificial gravitational field within the body of the spacecraft and yet there would not be any gravity on the outside?
OTC: Exactly correct.
LJ: And this is done by the battery which I attempted to describe, spinning around and producing its own gravitational influence?
OTC: Yes, this is the beginning of an answer to your question: we have capacitor plates and electromagnets as a part of this system. Now, this is counter-rotating; the electromagnets rotate in one direction, and the batteries rotate in another. The capacitor plates rotate in conjunction with the battery so that we have a clockwise and counterclockwise rotation. Now the third system is the cabin that maintains the crew. This does not rotate; it is fixed due to the fact that the two bodies are rotating clockwise and counterclockwise. Therefore the system causes the craft to escape from the gravity pull. The craft itself due to this system still has internal gravity because it still has the same weight that it had in the beginning.
LJ: What charges this battery?
OTC: This starts out electrochemically the same as other batteries, but we do have a regenerating system that is very unique. We are able here, for the first time to our knowledge, to use atmospheric electricity as a recharging system. This is done as part of the operational principle of the craft.
LJ: You say you use atmospheric electricity. What happens when you leave the atmosphere?
OTC: We have electrochemical systems to provide us with all the energy that we need and have a regenerating system in the manner of a regenerative coil that recharges this battery in the same manner that the storage battery in the automobile is recharged now, by a generator.
LJ: What you have doe is made the first perpetual motion machine.
OTC: There is nothing perpetual about our machine. The energies which cause it to operate are perpetual. You cannot destroy matter, and you cannot destroy energy; molecular flow is perpetual and that has been proven in the laboratory. It has been proven that electricity itself is immortal. When we take away resistance we can set up a spark of electricity and it will continue to operate; therefore we have perpetual energy. No machine that we can conceive of made by man would be perpetual, but it is free energy. It's self-energizing and as long as all parts function and do not wear out this is truly a self-energizing machine.
Ben: About this formula: were using conventional algebraic methods?
OTC: No, we weren't. Partially conventional, but we were joining actual space forms. We arrived at satisfactory equations for ourselves which can be demonstrated.
Ben: Are the physical laws upon which your invention works expressed in mathematical terms?
OTC: Possibly, but I wouldn't say that I'm qualified. We're satisfied with this formula.
Ben: Well, it's like saying plus 4 divided by minus 4 equals 4.
OTC: Sometimes these solutions are not always what appear. As we know in synergy, we know 1 plus 1 equals 3.
Ben: 1 plus 1 equals 3, when?
OTC: Because two conditions always produce a third.
Ben: the third condition is 2, isn't it?
OTC: Not necessarily.
Ben: Could you go over these conditions?
OTC: If one condition operates one way and another operates another way, when you join them you have another condition and their sum is 3.
Ben: Well, that is a little bit over my head. I've been looking at this prototype you have here and I notice a wooden frame or scaffolding you have a larger model of that you have on a turbine and around it is a wooden ring and it seems to be filled with electromagnets.
OTC: That's right; this is a wood model of an operational model. What we have here is the cones, our Utron electric accumulator; that is the power system. This system activates the electromagnets and in turn activates.
Ben: Does the system --- the thing inside --- activate the electromagnets on the outside?
OTC: This is true. We do this by contacting this lead wire from the positive and negative poles of these batteries to the electromagnets and then we have circuit breakers from these electromagnets and we have counter-rotation. These electromagnets will rotate counter-clockwise while the internal area is rotating clockwise.
Ben: Are these spools of wire on the model itself, are they magnetized also?
OTC: The coils of wire inside the ring are regenerative coils; they are electromotive force coils and they assist in regenerating the battery, because they are loops of wire brought through a magnetic field which sets up an electromotive force. These others are capacitor plates and these are also activated by the central power core, but these plates, which can accept a very high charge in neutral conductance also through the process of ionization utilize atmospheric electricity.
Ben: The fact that you have two cones meeting at their bases, so that you have something that is also square. I don't see how you get a square.
OTC: Dimensionally it is; it is square in these dimensions and when this rotation starts and builds up to a certain velocity, this form is very important because we have the total equation of action and reaction. Now this is done by a system of coil winding wherein we start at a point, expand to an equator, and continue our winding down to a point. With this physical expansion and contraction, is an electromagnetic field. Gravity enters the picture in the form of this relative rotation. When the relative rotation ---- inertial effective mass ---, it's a matter of dimension. So that is the earth, say, is 8,000 miles in diameter, we know its fixed rotation is 1 in 24 [blurred text, possible additional digit]. If we were 1 mile in diameter its rotation would be 8000 in 24 [blurred text, possible additional digit]. And by the same system, our 45-foot craft has a rotation of 580 rpm and when it reaches this rotation it is totally independent of its inertial attractive mass, in an electromagnetic field.
Ben: If your models get up to 580 rpm, will they take off?
OTC: This model was spun at 40,000 rpm and when it did it set a pressure pattern of 1,000 tons; the horsepower reading was a little over 700. Six engineers checked this out. Now the relative rotation of this model would be about 68,000 rpm, and when it reaches this rotation, it would immediately take off.
LJ: Would the time factor be involved with this craft?
OTC: In our solar system, the time factor would be involved, yes. We evaluate time on the velocity of light and in certain systems, if we exceed the velocity of light, unquestionably time would slow up.
Ben: Your craft can exceed the velocity of light?
OTC: We don't say this; I say I other systems.
Ben: I thought nothing could do this. I thought it was a constant factor, one of Einstein's factors.
OTC: Possibly in our system, but not necessarily true in other systems.
Ben: Anything approaching the sped of light becomes pure energy.
OTC: Pure energy, but in other systems it could change.
Ben: What other systems?
OTC: Other solar systems. We are completely controlled by our system and the velocity of light is our yardstick and our pattern and our craft is designed around this.
Ben: You don't just upset one of the basic principles of the universe.
Mel Salomey: Doesn't Einstein say any measurement is relative?
Ben: Except this one; it's the first axiom.
Mel: What is an axiom?
Ben: Self-evident truth.
Mel. Thank you. Wasn't Einstein theorizing; wasn't he assuming?
[Discussion of the speed of light, not included in transcript of the interview]
Roy: What are these coils? To describe this the best I can, imagine if you will a circle about 18 inches in diameter. Two circles that form a sort of a -- In other words, one circle fits over another circle and from the top of the circle and coming down from the other an inverted round pyramid. There are a number of what appear to be copper wound coils around the edge of it. And then there's a sort of a framework on top and underneath there's sort of braces. That's the general idea. I noticed these cones placed mouth to mouth with some coils, the coils on the edge of this thing; it revolves within this structure. A tough thing to describe.
Q: What is this over here, Mr Colton?
Colton: This is a paper mockup to show the counter-rotation principle and its outside section that Roy is describing looking at the other mockup. It contains the electrified horseshoe magnets. This would rotate in one direction counter-clockwise while the center section with the electron accumulator [Utron] would rotate clockwise in the other direction.
Q: Would these coils in the outer rim?
Colton: Rotate counter-clockwise -- It has a rotation speed relatively equal the earth's rotation speed, at about 580 rpm.
Q: When you say 580 rpm do you mean the outer rim is rotating on one direction 580 rpm and the inner rotating in the other direction at the same speed, giving a total rotation, one relative to the other, of 1160?
Colton: Exactly, although I don't know if 1160 has any bearing on it or not.
Q: Well, it would be twice the rotation in reference to the earth.
Colton: We're not giving it for a certain rotation for the sake of rotation but for the sake of relativity to the attractive mass. The earth at 8,000 miles diameter rotating once in 24 hours is relatively equal to a 45-foot craft rotating at 580 rpm, and 580 rpm would calculate to be the approximate rotational speed of an automobile tire on a car moving at about 25-30 mph.
LJ: Could a small craft be made to take off?
OTC: We plan to build a prototype model as a demonstration device. Now I would like to state that certain models have been built by me and tested. Each one has been airborne. One was lost entirely in space. We had a control system and this one didn't function. This has already been done.
Q: As was calculated, the speed of the circumference was 1263 mph. It gets kind of warm at that, doesn't it?
OTC: No, it won't because it has its own protection field which is its electromagnetic actuation. We described it as a self-contained unit. This ionization of the capacitor plates sets up a glow brilliantly with a very soft luminescent light.
LJ: What color?
OTC: It would be in the nature of blue-green or very similar to the electric arc you see in welding. This is the field we are testing. It does not have a heat barrier in forward velocity at all. This electromagnetic field is being tested out now in conventional aircraft and proved very efficient.
Q: Would you suppose you could put rockets toward the edges of the cone and have the thing spin by rocket propulsion?
OTC: We don't need it. We have a tremendous spin here. An electric motor operates the same way. You set up an electromotive force inside a magnetic field and you get rotation. So what we actually have here is an improved electrical motor which in itself is a circular device, and we say we make energy out of the air, from another dimension.
To clear your analogy up also, we would like to demonstrate the fact that this earth itself is literally a space craft demonstrating what we're talking about; it's rotating and orbiting at a certain constant speed with a magnetic field and it is in itself a spacecraft.
Q: Mr Colton, we assume the moon has a gravitational field. How does it make a gravitational field and yet it does not rotate on its axis.
Colton: It does not rotate on its axis?
Q: No, the moon does not rotate on its axis.
Ben: Sure it does, 1 rotation for 1 revolution.
Q: How long does it take?
Ben: 28 days.
Q: And the earth takes one day.
OTC: And that's how engineers and scientists have evaluated the velocity of the craft we call the earth by the orbit of it. Upon the pattern already set up, by the amount of time it takes the moon to rotate once around the earth from the center of the earth's core: 28 days. The distance being 245,000 miles. It is easy to calculate.
Q: These cones seem to revolve over intricately wound copper coils. Do you supply any motor power to this?
OTC: All energy comes from these two cones [Utron]. This in vernacular is a battery. The big novelty is that we have put a battery in motion. We have designed it within the accepted knowledge of total dimensions of space-matter and we have activated it electrochemically [electrolyte in the hollow center] and used the force through chemical activation to activate the entire craft, after which we have motion as the feature of this accumulator.
Ben: Mr Osgood's telegram brought up a very important and perhaps crucial point, mainly, James Clerk Maxwell demonstrated that light is an electromagnetic radiation, also verified by hertz who laid the foundation for modern radio. Now the speed of electromagnetic radiation such as radio waves also travels 186,000 miles per second. In other words, light and all forms of electromagnetic radiation travel at the speed of 186,000 miles per second. Now if it were possible for your craft to travel faster than the speed of light, it could, therefore, travel faster than the speed of electromagnetic radiation. So once it exceeded 186,00 miles per second, you wouldn't be gaining all this energy from this electromagnetic radiation you're generating and wouldn't you fall rapidly down?
OTC: There is a continuous falling in space which in itself can bring velocity and can bring you to another system. We mentioned conjecturally that in other systems, there could be different velocities. We're not applying them to our craft. We don't identify them wit our craft. Relatively, we could not go faster than the speed of light unless we were in a system that permitted it. In our solar system, which we have mentioned now 3 times, it is designed on known principles. We conjectured about other systems. If we go beyond the speed of light in other systems the conditions within that system would make it possible for us to have power.
Roy: Let's assume, Mr Carr, this vehicle is at rest. What is it that originally overcomes the inertia of this rotor and starts the rotor moving?
OTC: The electromagnetic force stored in the energy of the Utron electric-accumulator, which in vernacular is a battery.
Roy: Now the Utron electric accumulator is these cones that are inverted to each other with bases together. I know of zinc batteries, nickel-cadmium, lead-acid cells. Could you use those?
OTC: We could use any of the kinds you mentioned; what we have here is tremendous power size in comparison to other batteries; therefore, it's very easy to put 1000 2-volt cells inside this one unit as you see it. It has functioned very well. In our 45-foot craft we plant to have 12,000-volt batteries which will extend an electromotive force which will energize the electromagnets and the capacitor plates. The generative coils will put back into the batteries in this system the same amount of volts going out until there is a breakdown of electro-chemicals or wear-out of equipment. But it could last as long as average storage batteries in automobiles.
Roy: In order to start the motor off originally, is it necessary to cause a flow of electricity through one set of the coils?
OTC: That's true.
Roy: Is there any magnetic force in the other set of coils at this point?
OTC: They individually operate by circuit breakers and the first motion begins to start a repetition. The same we have in a motor that has the opposite of a commutator, which is an accumulation of contact points where each coil is energized as the current flows through this coil. Then this starts the motion, the repetition of this motion brings the whole motor into phase in the same sense our accumulator and magnets become speeded up and the circuits are made and broken as they rotate.
Roy: Where the inner rotor rotates in one direction and the outer in the other direction. and if the cabin is located on top of the rotating mechanism, what keeps it from rotating in one direction or the other?
OTC: We have this cabin as the center of the craft and the battery below the cabin and the electromagnets are the total outside of the circular foil. The shaft of the accumulator goes through the cabin and there is a bearing. Now, just as this stays stationary when this is rotated, so will the cabin because there are two rotating forces. You have the clockwise rotation of the accumulator, the capacitor plates, the generative coils, you have a counter-rotation of the entire circular area of the craft, the larger diameter which houses the electromagnets; therefore, when you have rotation in both directions, the cabin itself is like a bearing and extension of the shaft. We've built models and proved this is correct.
Roy: OTC XI was accomplished?
OTC: Six crafts were airborne, one escaped; we used circuit breakers of various types and fuses burned through the switch and we lost one craft.
Roy: What was the size?
OTC: The largest and the one lost was 6 feet in diameter.
Roy: You also talk of the Caroto Gravity Motor and you mention it requires no fixed location in which to function, and you also say a lot of other wonderful things about the possibility for this motor. Is it something else than the spacecraft?
OTC: They are two separate packages. The spacecraft utilizes the electrical accumulator and the gravity motor uses the energy of the inertial attractive forces. We have learned how to take this energy and key it to a working shaft and get work power which we call free energy because it is. We don't make any part of it. Now in the rather vulgar vernacular sense this would have been classified as perpetual motion. It is nothing of the sort. It's free energy. Now we have learned that all masses that are smaller than the masses to which they are attracted exert energy. Even this ashtray; if it takes a pound of energy to lift it, then it is exerting a pound of energy. We have a true gravity motor. Its functional operation is to produce power continuously without any dissipation of the energy which causes it to operate, and we have built models of this and they operate and function and we are in the patent procedure with this.
Mel: Back to a question a while ago regarding an analogy of the earth as a spacecraft. Taking another look at the mock up prototype power package there in front of you. It resembles the solar system itself, and as a matter of fact one of the statements in the brochure published in 1957, stated it illustrated the geometry of the universe. It seems that this device miniaturizes and essentially duplicates the motion of bodies in the solar system. It must have the ability to miniaturize their energy. So in a sense, the bodies in the solar system, in all time, have maintained their constant motion perpetually in those motions and this is why people characterize this power package as a perpetual motion machine.
OTC: But we do not make any such claim.
Colton: The Utron has many applications, has many forms, many variation. In one sense you might describe it as an energized armature or in other words a motor with a self-contained moving battery, also capable of continuously re-energizing itself. The offer in regards to spacecraft applies to government and industry alike. We will only make total disclosure demonstration after we have procured a firm order. In other words, we're not looking for anyone to evaluate our development. Mr Carr has come a long way in his research. He doesn't need any risk money from taxpayers or industries for further exploration and development. We will disclose to anyone who is a purchaser, but not to anyone who comes along for curiosity.
Mel: What does the word "Utron" mean?
Colton: "Utron" is a coined word, a word Mr Carr put together: the letter "U" and "tron", U meaning the direction or shape of motion as applied and used and equated in this accumulator or battery we described -- U is the plane, the geometrical figure that is the portrait of the wave, you might say. The letter U as described on paper, the two-dimensional, is a portrait on paper of the wave or the wave motion with the cut field, with the straight line, the pressure energy in the Utron accelerator.
OTC: To me there's no such thing as a completed curve; you only go half way, just like you only go half way into the woods, then you're coming out. This is the same. A bisection of a total sphere is its exact curve and one half of it is primarily U-shaped. Because in magnets there are always two poles and one normal way to show them is in a U-shape, but if it's in a bar magnet, there are still two poles and the shape is still the same. We can only put a rope one half way around the tree and it's coming back the other way, and this is true in all wave motion. Now, if you extend this into velocity, this is the pattern in the sine wave and definitely the electromagnetic wave.
Ben: I see... the vortexian of the wave
OTC: All motion is relative to all other motion, so this serpentine, spiral state.
Ben: So it's not the form of that motion, the graph and the equation. I'll accept the fact that it's the form of the utron motion though.
OTC: Also the form as well in two dimensions is intensified in the geometry of our accumulator.
Q: Why do you refer to this vehicle as a 4th dimensional vehicle?
OTC: Because the geometry of the accumulator is such as the 4th dimension. To me the application of space and time, a vibratory field and electricity as we know it is a vibratory force in motion. This is symbolic of it and when it is activated it becomes such. Now this may be a little bit difficult to understand, but nevertheless the very smallest electronic particles of matter have been shown under the highest type of electron microscope to be one-dimensional squares. To me this is verification that this is truly a space dimension because it is the shape of matter. Without matter you couldn't have space.
Q: I'm holding a thing that looks like two loudspeakers in a simplified form, placed mouth to mouth, two cones mouth to mouth, like two tops together so they have a point at each end and actually like a thickened flying saucer... Now what is it that comes from that: is it a high voltage?
OTC: The voltage is whatever we wish to make it by design.
Q: In other words, then, this is a battery?
OTC: That's right.
Q: The battery then goes through these magnets?
OTC: The battery rotates in this magnetic field. The average armature today in any electrical system is usually the permeability, iron wound with copper, then through a magnetic field acts as a motor, or it becomes a generator, depending upon the lead. The great novelty here in the area in which an armature is normally used, we have a [power unit, and this a battery, and this is a moving power unit.
Q: In other words, you might call this a self-contained power supply, right? How would this generator --- maybe I'm using the wrong word --- gather additional energy from outside?
OTC: This is due to its circular motion. Electrical forces are motions where they manifest. Now we have cycles in alternating current; AC gives you 60 cycles per second; we have discovered in our experiments that there is a space cycle related to electricity, and if we join the cycle we get energy from it.
Q: Mr Colton, will you try to describe to our listeners how they can draw at home a facsimile of an Utron?
Colton: You can take a pencil and draw four lines to form an open square. When you have a square, draw a straight line from one point of the square to an opposite point and you'll have two right angle triangles. Now if you convert the line you've just drawn into a small lip you'll begin to see two inverted cones, the base of which form a circular equator. While you started with a square, you now have two cones. Obviously, the base of the cone is a circle or completely round as we describe it, and you have the device which is described as completely round and completely square, the Utron electric accumulator. The cavity in the center of these which is a hemisphere when the two cones are put together have a hollow sphere. This is the cavity which contains the electrolyte which would be used in some of the applications of the accumulator.
Q: Of what value is the term "completely round and completely square" apart from its obvious redundancy.
Colton: It is Carr's definition of the geometry or the basic space form or the basic form of all matter large or small relatively as we describe it. It is the definition of the terminal motions of universal energies in what we call space.
Q: In one of your brochures you make mention of a "photon gun" and you say, "This is primarily a development that works outside of the earth's atmosphere. We are entering an age of space flight and the use of solar energy is practically unlimited"... What is a photon gun?
OTC: I am using the word gun as a reaction principal instead of as a weapon, nevertheless it is a gun and in fact fires billions of rays of solar energy at right angles to the reception. By placing them through a certain chamber, we have been able to get a reaction and whenever there is a reaction, we can get power, we can get force from it. So we feel outside the earth's atmosphere new systems of propulsion even beyond our own of electromagnetism will make themselves apparent.


Information Bulletin #3 (December 23, 1957) [Excerpts]
"Carr's Principles of Free Energy Space Flight Accorded Highest Scientific Verification"
Otis T. Carr, President of OTC Enterprises in Baltimore and inventor of a manmade spacecraft, which he has offered to build and deliver to the government without one penny of risk to the American taxpayer, publicly revealed the propulsion principle of his spacecraft in the following statement:
"Any vehicle accelerated to an axis rotation relative to its attractive inertial mass, immediately becomes activated by free-space-energy and acts as an independent force..."
An excellent example of this principle applied in practice is the fact that the two satellites now orbiting the earth, have achieved space-energy activation by an equivalent inertial velocity, and were it not for their susceptibility to internal or inherent physical deterioration, they would theoretically and factually be kept orbiting by natural space forces until the end of time in our solar system. These statements in evaluation of natural physical phenomena as first discerned and made public by Mr Carr, have been physically tested in laboratory experiment by an impartial scientific laboratory and confirmed as follows:
"We have shown that a charged body, accelerated to an axis rotation relative to this attractive inertial mass, indicates polarity in a given direction. The dip-needle points, say, up toward the top of the body. But mount this while rotating body, with its spindle, on another platform and rotate this platform on a spindle, then if the counter-rotation is greater than the inertial forward rotation of the body, a dip-needle on the second platform will point down while the first dip-needle points up, indicating complete relativity of polarity. When the exact counter-rotation matches the forward rotation the body loses its polarity entirely and immediately becomes activated by free-energy (tensor stresses in space) and acts as an independent force... The above-described assembly of counter-rotating charged masses becomes weightless and will escape the immediate attraction of gravitational forces.
"Your discovery therefore is distinctly a possibility, and its creative genius lies in its inventor's ability to provide it with a process for generating its own power as a result of its self-rotation."
Translated into familiar terms, this scientific explanation means that the above-described assembly of counter-rotating charged masses becomes weightless and will escape the immediately attractive gravitational forces...
Our experiments and investigations have made known to us that the mighty power from the Sun can be utilized when the geometry of design is properly evaluated. We are aware of the resistance factors involved, due to the earth's atmosphere, and our developments have been predicated on overcoming these, which in some instances has been done.
We have invented a Fourth Dimensional Vehicle. This Fourth Dimensional Vehicle is powered by the revolutionary Utron electric accumulator, which is completely round and completely square, and generates its own power, which is electromagnetism and electromotive force. It can be launched form the earth, and does not have to be blasted into space. The basic design was brought to the attention of the United States Government, and a patent application was filed in 1949.
Some tests were independently made by qualified engineers at one of America's leading plants and it was estimated that a small model, only 4 inches in diameter, produced energy equivalent to 1,000 tons. This was in 1952, and Mr Carr was unable to interest anyone in his efforts at that time. Things have changed, and the Government has now put its blessing on space flight development.
At the present time the rocket enthusiasts are commanding topmost attention. But there will be changes in thinking, and new directions of endeavor very soon. Our experiments with circular-foil design, as relates to gravity, electromagnetism, and electromotive force, have led us to the certain conclusion that it is possible to use the inverse-proportion laws of Newton as successfully as the third law of motion applies to accelerated rockets. We will produce the OTC-X1 circular-foil spacecraft as the first operational prototype as symbolized in this conception drawing.
Claims Christ Disclosed True Nature of the Universe in Symbolism of the Cross ~
Visionary Mr Carr claims that Christ disclosed the true nature of the Universe in the Symbolism of the Cross. He pointed out that "Christ is truly expressed in the sign of the Cross -- the true Cross -- the absolute, the finite expression of the cosmos that we call the Universe". The inventor further stated:
"A universe has only two basic properties: the motions and the directions. The correlation of these properties manifest in several forms, their two categories being called energy and matter.
"These two forms are equal to each other, and are the product of each other, matter being energy under the pressure of motion and having relative finity because of the harmonious correlation of the direction of such pressure, and energy being matter released from pressure by any change in the direction of motion.
"In any universal system, these motions and directions manifest their finite totality in what we call space, and describe their total form in what we call straight lines and curves, the geometry of which is expressed in a finite form whose dimensions are a constant correlation of the directions and motions. We have equated the shape of this universal space and translated it into physical form which we have called the Utron Electrical Accumulator, which expresses the linear correlation of space motions and directions in a form that is therefore completely round and completely square.
"In its linear proportions the Utron Electrical Accumulator is the union of straight lines brought together in and from all directions, and in its correlation of and with curved lines it expands from a point to the circumference of its equator and contracts from that equator to a point, always being a correlation of complete curves. The aim of these linear correlative dimensions is three points, the exact center point of which is +0 and -0, the exact peripheral points of which are +X and -X.
The space ship designer then mathematically points out his theory:
-0 / +0 = 0
-X / +X = X
0 + X = 0X
Continued Mr Carr:
"We were inspired to complete this work in the service of the Christ Jesus by Albert Einstein's search for a unified field. This relativity is a unified field, expressed in physical form is the square in the circle bisected by the Cross. The Utron Electrical Accumulator is the full expression of the dot that was the beginning of 0X, extended in all directions to form the cross, which in motion continues on to form the square and the circle.
"In the beginning was the Word. The Word was 0X [actually: AeTZI], and in the revelation of Jesus, was given for all who wanted to see, in the symbolism of the true cross.
"Set the cross in motion and you will see the halo that is Light and which we also call Energy.
"If there is not time
And there is no space
There can be no other place.
And perhaps there is no far.
Perhaps the Universe
Is right where we are."
Peace and plenty through the Application of Free Energy to Supply All Things to All People.
US Patent # 2,912,244
Amusement Device
(November 10, 1959)
Otis T. Carr
This invention relates generally to implements in amusement devices, and more particularly to an improved amusement device of the type where the passengers will receive the impression of riding in an interplanetary spacecraft.
The present invention contemplates a novel amusement device having the overall configuration of a spacecraft and being formed in various sections, with portions of the sections being rotated in opposite directions to give the impression of movement to the passengers. It is also contemplated to move the craft up and down and display an animated movie of heavenly bodies above the passengers to give the passengers an impression of leaving the earth and approaching a distant planet or the like. This invention further contemplates the provision of electromagnets, cones, and the like carried by the oppositely rotating sections of the device, and windows through which the passengers may view these simulated objects to give the impression that they are viewing the inner workings of an interplanetary spacecraft during flight of the craft. Finally, this invention contemplates the construction of the various portions of an amusement device simulating an interplanetary spacecraft in such a manner that the device may be easily transported in sections from one location to another and reassembled in a minimum of time.
An important object of this invention is to provide an amusement device wherein a passenger in the device receives an impression of flying in an interplanetary spacecraft.
Another object of this invention is to provide an amusement device having a general configuration of an interplanetary spacecraft and having oppositely rotating sections simulating the movement of various portions of the device to impress the passengers with flight in a spacecraft.
Another object of this invention is to provide an amusement device simulating an interplanetary spacecraft wherein the passengers will be physically moved a very minor distance and yet will receive the impression of flying in a spacecraft.
A further object of this invention is to provide a portable amusement device simulating an interplanetary spacecraft which may be easily disassembled and transported from one location to another.
A still further object of this invention is to provide an amusement device which is simple in construction, may be economically manufactured, and which will have a long service life.
Other objects and advantages of the invention will be evident from the following detailed description, when read in conjunction with the accompanying drawings which illustrate my invention.
In the drawings:
Figure 1 is an elevational view of an amusement device constructed in accordance with this invention.

Figure 2 is a vertical sectional view through the device illustrated in Figure 1.

Figure 3 is a plan view of the landing gear for the amusement device, with the housing around the legs of the landing gear removed.

Figure 4 is a plan view of the supporting structure or framework for the outer rotating shell of the amusement device shown in Figures 1 and 2.

Figure 5 is a plan view of the central rotating assembly which rotates within the outer shell frame illustrated in Figures 2 and 4.

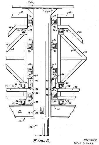
Figure 6 is an enlarged sectional view illustrating the support and the drive between the inner rotating assembly and the outer rotating assembly.

Figure 7 is a plan view of the floor portion of the passenger cabin.

Referring to the drawings in detail, and particularly Figures 1 and 2, a preferred embodiment of the present invention comprises, generally speaking, a supporting structure and landing gear 10, an outer rotating shell 12, an inner rotating assembly 14 (shown only in Figure 2) and a passenger cabin 16 extending downwardly into the upper end portion of the outer shell 12. The landing gear and supporting mechanism 20 comprises a vertically extending tubular member 18 around which the outer shell 12 and inner rotating assembly 14 are journaled as will be hereinafter set forth, and a plurality of legs 20 extending radially outward in circumferentially spaced relation from the lower end of the tubular member 18. The tubular member 18 is telescoped over a supporting stanchion 22 which may be in the form of a pipe, and the tubular member 18 is slidingly supported on the stanchion 22 by suitable wheels or rollers 24 to facilitate vertical movement of the member 18 on the stanchion 22, as will be hereinafter set forth. The stanchion 22 is preferably supported in a suitable foundation 25 to provide adequate strength for the amusement device.
A suitable jack 26, preferably a hydraulic jack, is anchored in the foundation 23 underneath the outer end portion of each of the landing gear legs 20 and is provided with an extension 28 extending upwardly into connection with the respective leg 20. The jacks 26 are operated simultaneously to raise and lower the landing gear and supporting structure 10, as will be described. A suitable shaped housing 20 is preferably secured around each of the landing gear legs 20 to provide a streamlined appearance. It may be noted that each of the legs 20 is preferably constructed out of a structurally strong member, such as an I-beam, and is secured to the lower end potions of the tubular member 18 by suitable braces 32 and plates 34 to assure a rigid and adequate connection of the legs to the tubular member 18.
A pair of rollers 36 (see also Figure 3) are rotatably supported adjacent the outer end portion of each leg 20 of the landing gear and are arranged to engage a circular track 38 (Figures 2 and 4) for partially supporting the outer shell 12 and the inner rotating assembly 14 as will be described. Also, a suitable drive motor 40 (Figure 3) is mounted on one of the legs 20 of the landing gear and is connected through a suitable gear box 42 to one of the rollers 36 to rotate the outer shell 12 with respect to the landing gear and the supporting structure 10. The roller 36 connected to the drive motor 40 may be suitably chained (not shown) to its companion roller 36 to assure an adequate drive connection between the drive motor and the circular track 38.
The shell (Figure 2) is tubular in configuration, with the diameter of the central portion thereof substantially larger than the diameter at the opposite ends thereof, and is supported in an upright position to give the general appearance of two saucers placed face-to-face. The outer edge portion 44 of the shell 12 is preferably formed of partially transparent material, such as Plexiglass, and is illuminated from within (not shown) to provide a band of light around the central portion of the shell 12. the remainder of the shell 12 is formed of any desired opaque and relatively strong material, such as aluminum-laminated masonite sheets.
The shell 12 is supported on a frame generally designated by reference character 46 and illustrated in Figures 2 and 4. the frame 46 is circular in plan, as viewed in Figure 4, and is substantially U-shaped in cross-section (as shown in Figure 2) to provide an upper horizontally extending portion 48 and a lower horizontally extending portion 50 which extend from adjacent the support member 18 outwardly to the central portion of the shell 12. The frame 46 may be easily formed with industrial steel tubing 52 formed into a truss with bracing of steel rods 54. With this construction, the frame 46 may be easily fabricated in sections for convenient assembly, or the entire frame 46 may be lifted off of the supporting member 18 and transported to another location.
Support of the frame 46 and the outer shell 12 is provided by the track 38 (previously mentioned) which is secured on the lower face of the lower horizontally extending portion 50 of th3 frame 46 in a position to engage the roller 36 carried by the landing gear legs 20. Additional support for the frame 46 is provided by rollers 56 (Figure 6) secured around the inner edge of the lower portion 50 of the frame, and rollers 58 secured around the inner periphery of both portions 48 and 50 of the frame. The rollers 56 are arranged in circumferentially spaced relation around the inner periphery of the frame 46 and engage a circular track 60 supported by the legs 20 of the landing gear. The track 60 may be an extension of the upper plate 34 shown in Figure 3. The rollers 58 engage tracks 62 extending circumferentially around the supporting member 18 to accommodate any radial forces imposed on the frame 46. It will be understood that any desired number of the rollers or wheels 36 operated by the motor 40 will engage the track 38 to rotate the shell 12 in one direction around the longitudinal axis of the supporting member 18. The rollers 56 will engage the track 60, and the rollers 58 will engage the tracks 62 during such rotation of the outer shell 12 and frame 46.
The inner rotating assembly 14 is generally annular-shaped, as illustrated in Figure 5, for movement around the supporting member 18 between the upper and lower horizontally extending portions 48 and 50 of the frame 46. The assembly 14 is also preferably constructed as a frame out of square steel tubing 52 formed into a truss with steel rods 54 for bracing, and is provided with a double conically-shaped framework 64 adjacent the supporting member 18. The framework 64 is provided to support a covering material 66 of any suitable type such as laminated metal or plastic, to simulate a solid member in the central portion of the amusement device, which in turn simulates a portion of a spacecraft, such as the power unit for the craft. The covering material 66 may be corrugated if desired. The framework 64, as illustrated in Figure 6, is also provided to support the rotating assembly 14 on the supporting member 18 and the frame 46. A plurality of rollers 68 are provided around the lower face of the framework 64, and a plurality of rollers 70 are provided around the upper face of the framework 64 to engage circular tracks 72 and 74, respectively, which are mounted on the frame 46. The rollers in each set of rollers 68 and 70 are provided in circumferentially spaced relation around the inner periphery of the rotating assembly 14 to accommodate vertical thrusts imposed on the rotating assembly. Additional rollers 76 and 78 are provided around the inner periphery of the framework 64 to engage tracks 80 extending circumferentially around the supporting member 18 to accommodate radial thrusts imposed on the central rotating assembly 14. It will be apparent that any desired number of rollers 76 and 78 may be provided around the inner periphery of the framework 64 to adequately support the rotating assembly 14.
I also prefer to support a plurality of conically-shaped member 82 in the outer edge portion of the central rotating assembly 14. Each conically-shaped member 82 may be easily formed out of a suitable sheet material, such as aluminum or plastic, and is supported at its opposite ends by suitable trunions 84 to extend through the truss comprising the frame of the central rotating assembly 14. The conically-shaped members 82 are preferably provided in circumferentially spaced relation around the assembly 14, as illustrated in Figure 5, and are positioned to move through simulated electromagnets 86 supported around the frame 46, as illustrated in Figures 2 and 4. Each simulated electromagnet 86 may be formed in horseshoe shape out of any suitable sheet material, and is provided with tubing or the like 88 around a portion thereof to simulate the winding of an electromagnet. I further prefer to secure a plurality of plates 90 in spaced relation 14 to simulate capacitor plates in a spacecraft. The plates 90 may be formed out of any suitable material such as aluminum-laminated masonite to provide a striking appearance.
The inner rotating assembly 14 is driven by a friction or dead wheel 92 pivotally supported on the tubular member 18, as illustrated in Figure 6, engaging circular plate 94 and 96 carried by the inner rotating assembly 14 and the frame 46, respectively. The plates 94 and 96 are arranged in vertically spaced relation with sufficient distance therebetween to frictionally engage opposite portions of the wheel 92. It will therefore be apparent that when the frame 46 is turned in one direction, the plate 96 will engage the periphery of the wheel 92 to drive the wheel 92 and in turn drive the central rotating assembly in the opposite direction by frictional engagement of the wheel 92 with the plate 94. Therefore, the various conically-shaped members 82 will be moved successively through the simulated electromagnets 86 and give the appearance of the generation of electrical energy.
The cabin 16 is supported on the upper end of the tubular supporting member 18 and is rigidly secured to the member 18 by bracing 100 to move with the supporting member 18 and to be prevented from rotating with the shell 12 or rotating assembly 14. Additional support is provided by a plurality of rollers 101 carried by the frame 46 engaging a complementary track on the bottom of the cabin. The cabin 6 is constructed out of a suitable framework 102 such as aluminum laminated with masonite, on the outer surface of the framework and any other suitable material 106, such as masonite, around the inner surface of the framework. It will be understood that substantially strong members 108 must be provided in the floor of the cabin 16 to adequately support passengers in the cabin. As illustrated in Figure 7, a plurality of transparent windows 110 are provided adjacent the outer and inner peripheries of the floor of the cabin 16, through which the passengers in the cabin may adequately view the inner rotating assembly 14 and the frame 46.
Passengers may either stand or sit in the cabin 16 and may gain entrance and exit from the cabin through suitable doors 112 as illustrated in Figure 2. It will also be noted that the upper edge portion 114 of the outer shell 12 is extended upwardly to overlap the lower end portion of the cabin 16. A portion of the upper edge 114 of the shell 12 is removed, as at 116 in Figure 1, such that passengers may enter the cabin 16 through the doors 112. Simulated portholes 118 are provided around the upper edge portion of the cabin 16 to further simulate an interplanetary spacecraft. It will be noted, however, that the portholes 118 are preferably covered with an opaque material on the inside of the cabin 16 to prevent the passengers from seeing familiar objects outside the cabin 16.
A dome 120 is preferably provided in the top central portion of the cabin 16 and the under surface thereof is covered with a suitable material 122, such as cloth or the like, which will display a movie scene. A projector 124 is suitably mounted in the central portion of the cabin 16 to project an animated movie onto the screen 122 during the operation of the amusement device to give passengers the impression of interplanetary flight.
In summarizing the operation of the referred amusement device, the passengers are directed into the cabin 16 through the opening 116 in the upper edge portion of the shell 12 and through the doors 112. The doors 112 are then securely fastened in close depositions and the passengers are thereafter prevented from viewing any object outside the amusement device during the simulated flight. The drive motor 40 is then placed in operation to rotate the shell 12 and frame 46 in one direction, while the friction wheel 92 drives the inner rotating assembly 14 in an opposite direction. Passenger sin the cabin 16 will then view the movement of the inner assembly 124 and the frame 46 through the windows 110 to receive the impression of watching the inner workings of a spacecraft. Also, suitable lighting effects (not shown) are preferably provided in the sell 12 to illuminate the moving parts. Simultaneously with rotation of the shell 12 and the inner rotating assembly 14, the jacks 26 are actuated to raise the supporting member 18 on the stanchion 22. This upward movement of the supporting member 18 will be rather minor, but will be sufficient to give the sensation of rising to the passengers in the closed cabin 16. It will be observed that when the supporting member 18 is raised, the shell 12 and the inner rotating assembly 14 are simultaneously raised to retain the vertical relationship between the cabin and the remainder of the apparatus viewed by passengers in the cabin. Also, simultaneously with rotation of the shell 12 and rotating assembly 14, the movie is displayed by the projector 124 on screen 122 on the dome of the cabin to give the passengers the impression of approaching one or more heavenly bodies. The jacks 26 are then operated in the opposite direction to lower the cabin 16 and the movie projected by the projector 124 may then provide an impression on the screen 122 that the passengers are returning to earth.
From the foregoing it will be apparent that the present invention provides an amusement device which will give the impression and sensation to patrons or passengers of the device that they are taking an interplanetary flight. The device includes counter-rotating sections simulating the inner workings of a spacecraft and these moving sections may be easily viewed by passengers in the device. Also, the passengers are slightly raised during operation of the device to simulate flight from the earth and a movie is simultaneously displayed to give the impression of approaching a heavenly body. It will also be apparent that the construction of the amusement device is such that the device may be easily disassembled and moved from one location to another. It will further be apparent that the present amusement device is simple in construction, may be economically manufactured and will have a long service life.
Changes may be made in the combination and arrangement of parts or elements as heretofore set forth in the specification and shown in the drawings, it being understood that changes may be made in the embodiment disclosed without departing from the spirit and scope of the invention as defined in the following claims.
I claim: --- [Claims not included here]
Model OTC-X1 Construction Plans
As your eyes take in the shapes and relationships in these illustrations of the miniature model you are about to build, your reasoning will let you understand much about the invisible forces that contribute to the noise-free, pressure-free, and vibrationless sensation of floating flight to be experienced in the passenger living rooms aboard the OTC-X1. It will be very much like reclining in an overstuffed armchair on our comfortable old planet Earth.
It mechanical behavior being like that of a giant gyroscope, and electrically like a planet with its own atmosphere and force field, the OTC-X1 craft will know nothing of sound barriers, shockwaves, skin friction, turbulence, or G-strains.
Neither will its occupants need fear any harm from cosmic forces, gamma rays, x-rays, or other radiation, because the OTC-X1 craft will either be using or absorbing all such forces, or by the pressure and polarity of its own force field, be shielded against their penetration.
While the commutation system for the actual energized flight model craft is not shown together with the other components on this on this sheet, its design for the circuitry of electro-gravitational forces permits an environmental surroundment of equal and opposite pressures in and from all direction, whose circumference is nowhere and whose center is everywhere relative to the universal field.
Thus, by imitating nature, we become one with nature --- by translating her shapes and duplicating her motions we join forces with natural energies and become magnetically independent of manmade limitations, man-constructed barriers, man-invented feats, and man-imposed controls! [&c, &c., yada yada yada]
Construction Plan Thumbnails: Click on the Images to open the Full-Size Drawings ~
![]() |
![]() |
|
![]() |
||
![]() |
![]() |
|
![]() |
![]() |
Excerpts from an Interview with Ralph Ring
Ralph Ring is a technician who worked with Otis T. Carr in the late 1950s and early 1960s. Ring stresses that resonance is the key to working with nature: "Resonance. You have to work with nature, not against her." According to Ring, when the model Utrons were powered up to operational speed, "...the metal turned to Jell-o. You could push your finger right into it. It ceased to be solid. It turned into another form of matter, which was as if it was not entirely here in this reality. That's the only way I can attempt to describe it. It was uncanny, one of the weirdest sensations I've ever felt."
Ralph Ring describes Otis Carr thus: "He was an unquestioned genius. Tesla had recognized his quality immediately and had taught him everything he knew. He was inspired, and – like Tesla – seemed to know exactly what to do to get something to work. He was a private man and was also very metaphysical in his thinking. I think the fact that he was not formally trained in physics helped him. He was not constrained by any preconceived ideas. As crazy as it sounds now, he was determined to fly to the moon and really believed it could be done. I believed it. We all did."
Ring described his "flight" in the Utron craft, saying that "Fly is not the right word. It traversed distance. It seemed to take no time. I was with two other engineers when we piloted the 45' craft about ten miles. I thought it hadn't moved --- I thought it had failed. I was completely astonished when we realized that we had returned with samples of rocks and plants from our destination. It was a dramatic success. It was more like a kind of teleportation.
"What's more, time was distorted somehow. We felt we were in the craft about fifteen or twenty minutes. We were told afterwards that we'd been carefully timed as having been in the craft no longer than three or four minutes. I still have no complete idea how it worked. We just built it exactly according to Carr's instructions. Everything had to be perfect... it all had to be just so, or it he said it would not work: a kind of symbiotic state between man and machine.
"The Utron was the key to it all. Carr said it accumulated energy because of its shape, and focused it, and also responded to our conscious intentions. When we operated the machine, we didn't work any controls. We went into a kind of meditative state and all three of us focused our intentions on the effect we wanted to achieve. It sounds ridiculous, I know. But that's what we did, and that's what worked. Carr had tapped into some principle which is not understood, in which consciousness melds with engineering to create an effect. You can't write that into equations. I have no idea how he knew it would work. But it did.
"...There are two secrets to making the alien saucers work. One is their advanced engineering, and the other is their mental ability."
"I've lost count of the number of people who have refused to believe what happened. I no longer talk about it. It's no fun being laughed at and ridiculed. But I've described it exactly as it occurred. One day someone will build the disk just as we did and they'll have the same experience. All his blueprints still exist. Nowadays, it would all be done with digital and solid state circuitry --- no moving parts would be necessary.
"I've heard that the aliens use the same principle to operate their craft. Their physics seems to work in harness with their consciousness. The craft amplifies the power of their minds. Their craft won't operate without the pilots. I've heard that's why we can't operate their craft --- or, at any rate, we can't operate them the way they do. We're just not adept enough mentally and spiritually. So there are two secrets to making the saucers work. One is the advanced engineering, and the other is the mental and spiritual ability. We may have duplicated some of the first, but we may be a long way from the second yet."
FATE (May 1958), page 17
The following summary was sent from a Ship's Paper of October 30,1957, after being copied from a CW News broadcast while at sea. It is unusual because no other report of this announcement reached us. It certainly is sensational --- if true.
Baltimore, MD (October 29):--- A group of inventors claimed Monday they have been able to utilize gravity in circular motion machines capable of powering everything from hearing aids to space cruisers.
Otis T. Carr, president of OTC Enterprises, Inc., detailed his claims in an interview and demonstration of a crude model of a circular motion machine which he said is the principle of a "free energy circular foil" spacecraft he can build, if someone puts up the money.
He said the machine can be adapted to devices of any size to produce continuous power absolutely free of dissipation.
Its immediate application, Carr said, would be in a spacecraft --- which would be able to fly among the planets in controlled flight.
It could land or take off as desired on the earth, the moon or any planet in the earth's solar system, he said.
Carr and his associates said their claims are based on the most simple practical applications of natural laws and discoveries in science and mathematics. They have no formal education in science or engineering.
He said the same "free energy" which causes the earth to rotate on its axis and orbit around the sun will turn a machine he described as two cones joined at their circular bases.
When the rotation of such a machine reaches a certain velocity relative to the earth's orbital velocity, Carr said, it will take off.
Carr said the core of his space ship would be a huge battery which would spin at the velocity of the external craft and which would be recharged, he said, by its motion. Carr declared such a battery, built to any size, could be designed to power the largest electric generating plant, operate an automobile, heat a house or power any conceivable machine or device.
The principle on which Carr said such circular motion machines would operate is that "any vehicle accelerated to an axis rotation relative to its attractive inertial mass (the earth) immediately becomes activated by free space energy and acts as an independent force."
FATE (August 1959), page 32.
"The Saucer That Didn't Fly"
- By W. E. Du Soir
The serious field of UFO's and flying saucer research received a setback at Oklahoma City in late April when a highly publicized launching attempt by O.T.C. Enterprises of Baltimore, Md., resulted in failure. Hundreds of persons had been invited to Oklahoma City by Otis T. Carr to watch him "launch a six-foot prototype model of the O.T.C. X-1, a space craft which works on 'utron' energy." Those who were there came away disappointed. The flying saucer did not fly. The six-foot model, well-hidden in a warehouse, never even got to the launching site, or to the amusement park called Frontier City, where it was to have been displayed beside a 45-foot version of the same X-1 which will be an amusement "ride" in the near future.
The launching site was to have been a gravel pit eight miles north of Oklahoma City where Carr claimed the saucer would rise "400 to 600 feet." Launching time was set for 3:00 PM Sunday, April 19. Two and a half hours past this time Major Wayne Aho finally announced that the launching had to be postponed because of "technical difficulties." Later it was stated by O.T.C. officials that one bearing housing was "off one-sixteenth of an inch." Most of the major flying saucer clubs had ignored the "launching". Except for a story in early April there was no advance news on Carr's experiment in Oklahoma City newspapers.
One Oklahoma City television reporter expressed the general feeling of the townspeople, "This thing will never leave the ground. And I feel that a great deal of the ballyhoo they're giving out is tied in with the ride at Frontier City. I have tried constantly to get in to see the saucer model, but they've kept it hidden." Equally well hidden was Carr himself. He was finally located in Mercy Hospital, Room 302, by John Nebel, the famed "Long John" of WOR, New York City. Carr did not show up at a meeting at a local church the day before the scheduled launching but a taped speech was delivered to the 70 people who attended. "Barring any flat tires," Carr said, "I feel that history will be made Sunday afternoon when the model of the O.T.C. X-1 is launched here."
Carr did not leave his hospital room until Monday, when he was taken to the home of Major Aho, the man in charge of publicity for the company. A scheduled "victory" dinner was pretty dismal Sunday night, where again a taped message from Carr was presented. Monday morning at 5 AM a rumor spread that the model launching would again be attempted. At that early hour a group of a half-dozen people, including Norman Colton, Carr's chief aide, went to the warehouse. But it was three hours later before anyone else showed up and most of those who had come to see the model had given up in disgust and left. Many believers in UFO's, although skeptical, had traveled to Oklahoma City to see what developed. All of them had left town by Monday afternoon.
One member of a Pennsylvania saucer club commented, "I don't know what's going on but I feel they never had any intention of trying to launch the model. I could not see any plans in sight for the model and, in fact, I understand, that a Mr. Maywood Jones presented only what he called "three-dimensional illustrations" of Carr's ideas." Monday afternoon there was more activity in the warehouse and finally, around 4 PM, the model was "turned on" and revolved, although it showed no signs of taking off from the table on which it sat. "We hoped to try to launch it again but unfortunately one of the seams burst during the test," an O.T.C. official said. "We still hope to have a launching shortly," another member of Carr's group added. Left unanswered were such questions as:
1) Why was there no publicity about the launching in Oklahoma City for two weeks before the model was supposed to fly?
2) Why did Carr ready a taped message for delivery at the "victory dinner" a day before the scheduled launching?
3) How could any engineer make a mistake of one-16th of an inch in a precision part? This would be similar to a navigator landing an airplane 300 miles off course. A mistake of one-10,000th of an inch can be a major engineering calamity.
Carr was apparently undaunted by the weekend's developments. He again commented, "This indeed is an historic occasion." Questioned about the failures of his model, he added, "The theory itself has been proven. The model will go up, if not this week, then next week or next month." Mr. Carr also has stated that he and Major Wayne Aho will "fly to the moon in a flying saucer on December 7, 1959."













